歡迎光臨 桂林鴻程礦山設備制造有限責任公司官方網站!

                                          立式磨粉機與雷蒙磨粉機的區別

                                           立式磨粉機雷蒙磨粉機,是制粉生產線上常用的兩種磨粉設備,那么立式磨粉機和雷蒙磨粉機的區別在哪?弄清楚這兩種磨機有什么不同,能夠幫助客戶根據自身的需求和成本預算,選擇更適合自己生產的磨機。

                                           1、內部結構不同

                                           立磨機與雷蒙磨外形相似,但內部結構不同,所以它們的工作運轉方式略有不同。

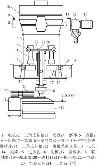
                                           立磨機運行時,立磨機磨輥位置是固定不動的,磨輥做自轉運動,與磨盤無直接接觸,底部磨盤一直旋轉,將磨輥與磨盤間隙中的物料進行碾壓粉磨。檢查維修時,通過杠桿支架就可以將立磨機磨輥翻出來查看了,操作方便簡單。

                                          立式磨粉機結構圖

                                          立式磨粉機結構圖


                                           雷蒙磨粉機的內部結構就與立磨機差別很大了,雷蒙磨粉機的彈簧梅花架上裝了5、6個均勻分布的磨輥,磨輥圍繞中心軸做圓周運動,底部鏟刀揚起的物料被送入磨輥和側壁磨環之間進行研磨。雷蒙磨磨環是固定的,它就是磨粉機的側壁。

                                          雷蒙磨粉機結構圖

                                          雷蒙磨粉機結構圖

                                           但不管是立式磨粉機還是雷蒙磨粉機,石膏、重鈣等物料都是在磨盤和磨輥之間被粉磨的。待物料研磨后,粉末顆粒隨鼓風機循環風帶入分析機中進行分選,細度過粗的物料會重磨,合格的細粉會隨氣流進入旋風集粉器中,經由粉管排出,即為成品。

                                           2、粉磨細度范圍不同

                                           雷蒙磨粉機歷史久遠,成品的顆粒粒度范圍略粗,在325目~10目之間。

                                           立式磨粉機在雷蒙磨粉機的基礎上,改良技術,使得粉磨出的成品粒度更細致一些,大概在325目~85目之間。同時立式磨粉機是集烘干、粉磨、分級、輸送為一體的高效粉磨設備,自帶烘干系統,降低了成品含水率,系統設備少。

                                           3、適用對象不同

                                           雷蒙磨粉機和立式磨粉機的使用環境有一定差別。雷蒙磨粉機主要用于中小企業,型號和重量比較多樣,價格從幾萬到幾十萬不等,而立式磨粉機主要適用于大型企業,重量和尺寸都比較大,最小型的也要幾十萬元。

                                           4、適用領域不同

                                           雷蒙磨粉機和立式磨粉機的市場使用率都挺高,應用行業比較相似,比如冶金、建筑建材、化工、耐火材料、制藥、礦山破碎磨粉等,但相比較來說,立磨機更適用于大型專業工業領域,比如水泥和非金屬礦行業。立式磨粉機自帶烘干功能,在同類設備中性價比極高;雷蒙磨工藝傳統,是第一代磨粉機,品質穩定,讓人放心。

                                          桂林鴻程立式磨粉機

                                          桂林鴻程立式磨粉機

                                           桂林鴻程是亞洲知名的磨粉機研發和制造企業,致力于為非金屬礦制粉企業提供先進的雷蒙磨粉機、立磨磨粉機等磨粉設備,經過不斷的創新發展,桂林鴻程磨粉機不僅在國內非常暢銷,而且還在國外制粉領域擁有廣泛的應用。如果您還想了解更多關于立式磨粉機和雷蒙磨粉機的區別,歡迎您撥打熱線電話咨詢0773-3661663。



                                          版權所有@2005-2020 桂林鴻程礦山設備制造有限責任公司 地址:桂林市西城經濟開發區秧塘工業園  咨詢電話: 13627861668 網站備案號: 桂ICP備11002237號

                                          點擊咨詢

                                          www.se448.com